深圳迎来一支重磅国资基金。
12月15日,注册规模189.01亿元的“深圳市国创引科创投资合伙企业(有限合伙)”(以下简称“国创引科创基金”)正式注册成立,注册地为深圳市前海深港合作区南山街道。

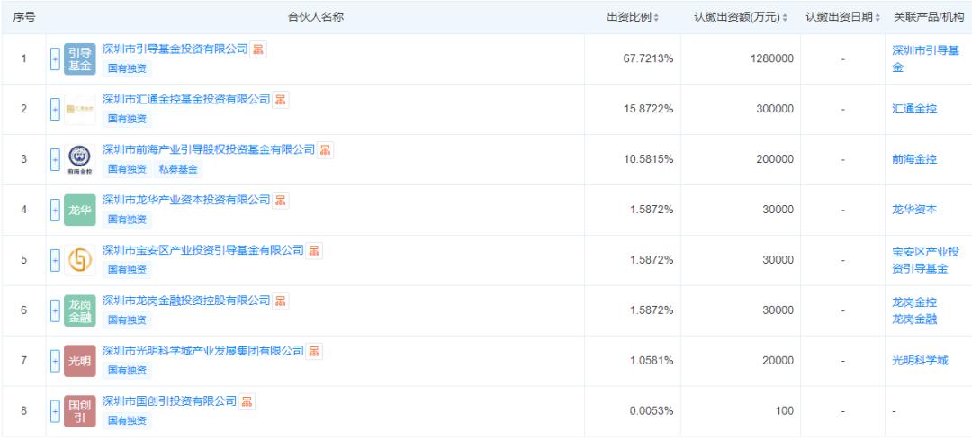
天眼查合伙人信息显示,“国创引科创基金”的合伙人包括:深圳市引导基金认缴出资128亿元,汇通金控(深圳南山区旗下)认缴出资30亿,深圳市前海产业引导股权投资基金有限公司认缴出资20亿,龙华资本、宝安区产业投资引导基金、龙岗金控各认缴出资3亿元,光明科学城认缴出资2亿元。基金管理人是“深圳市国创引投资有限公司”,该公司由深圳市引导基金100%持股。
从LP阵容可以看出,这支基金是深圳市区联动的成果,深圳国资基金群又丰富完善了。
母基金研究中心关注到,在基金群方面,深圳已形成了颇具地方特色的“深圳国资模式”:截至2024年底,深圳国资打造了包括种子基金、天使基金、创投基金、产业基金、并购基金、母基金、S基金、人才基金等在内的国资基金群,各类基金超过500支,基金总规模超7000亿元,投向战略性新兴产业和未来产业的资金规模占比超90%。
相关人士表示,接下来,深圳将聚焦“20+8”全产业链,构建全产业领域的科技创新基金网络,促使基金投向覆盖种子、天使、A 轮、B 轮、C 轮直至 IPO 的投资全生命周期,保证其中 A 轮及更早期的项目不低于 40%,投向 B 轮、C 轮项目均不低于 20%。
此外,延长创新创业类基金存续期限最长至15 年,并针对不同基金,确定差异化考核指标、免责清单,不以单一项目亏损、单一时间节点为考核负面评价依据,按整个基金生命周期进行考核,助力投资机构更有底气、更加大胆地进行长期投资。
据我们统计,今年,深圳在发展创投方面,重磅举措频出,有敢为人先的创新之举:
深圳市科技创新局发布《深圳市科技创新领域宽容失败履职尽责认定工作指引(试行)》(以下简称《指引》),明确科技创新宽容失败,履职尽责认定工作的指导思想和基本原则,包括尊重规律,鼓励创新;实事求是,客观公正;依法依规,容纠并举。
《指引》指出各财政专项资金行政主管部门是宽容失败,履职尽责认定工作的实施主体,并明确了5项勤勉尽责条件,9项免责情形,非常具有实操性。
深圳持续在鼓励创新与宽容失败之间探索平衡之法,不仅仅是简单的政策优惠叠加,而是通过制度性、系统性的规则创新,让科研人员安心、金融资本定心。
2024年,深圳在全国首提“大胆资本”,可见其先行先试的魄力。
我们认为,深圳此举对整个引导基金和国资母基金行业的容错免责机制建设来说,是一种积极的引导与带动。耐心与大胆不冲突:“耐心资本”注重长期、深度的产业化布局,为企业提供长时间的技术积累的底气;而“大胆资本”则会积极布局高风险的前沿科技领域,主动鼓励承担更多风险和挑战,甚至可以“大胆试错”。

今年以来,深圳多地已有“大胆资本”的探索实践,甚至能够容亏100%:
今年3月,深圳南山区发布《南山区支持创新创业“六个一”行动方案》,提出设立总规模为5亿元的战略直投专项种子基金和天使基金,基金内单个项目最高允许100%亏损。据悉,该基金将由深圳市南山战略新兴产业投资有限公司100%出资,南山战新投是由深圳市南山区政府设立的国有独资有限责任公司。
今年4月,深圳市福田区发布《2025年新启程教育科技人才“五福礼包”》,在“一基金”风险容错兜底中,放宽政府投资基金的失败容忍比例,明确“对于符合福田区产业发展方向的早中期项目,区产业协同基金可给予100万元、300万元、500万元培育引导型投资;产业协同基金的容亏比例,允许最高不超过80%亏损,对符合条件的项目允许最高100%亏损。
这可谓是全国“天花板”级别的容亏率,我们认为,这是一种积极的引导与带动。科技创新股权投资尤其“投早投小”的风险大,出现项目失败也是可能的,但只要管理规范、投资稳健及盈利满意的,则应宽容少数项目的投资失败。
2025年3月11日,《深圳市促进风投创投高质量发展行动方案(2025—2026)》(以下简称《行动方案》)发布,提出以培育引导耐心资本、大胆资本服务我市“20+8”战略性新兴产业和未来产业集群为主线;支持国有企业大胆有为,着力当好发展实体经济的长期资本、耐心资本、战略资本;进一步完善基金绩效考核与容错免责机制,研究制定差异化考核监督制度,区分基金属性,提升投资积极性。
我们关注到,深圳此次《行动方案》亮点颇多,许多举措可谓是在全国创投行业内先行先试的“示范样板”:首先,明确提出到2026年底,力争在全市形成“双万”格局——即“万亿级‘20+8’产业基金群”和“经备案的股权投资及创业投资基金数量突破1万家(只)”,推动风投创投基金以IPO退出的规模位居全国前列,并通过年均15%的增速扩大“投早投小投硬科技”基金规模,持续赋能“20+8”产业集群发展。
值得关注的是,母基金方面,除壮大“20+8”产业集群基金体系,加快基金投资进度,深圳还提出再组建三个母基金:河套深港科技创新合作区跨境双币早期母基金、光明科学城母基金、面向CVC机构的专业化母基金。我们认为,这三个母基金兼顾了双币、科创、CVC,很好地为当前深圳已有的基金体系提供了协同和补全。据母基金研究中心数据统计,2025年上半年全国新发起的政府引导基金与市场化母基金在总规模上均出现了大幅下跌,其降幅分别为66%与50%。在当前的市场环境下,设立母基金也有利于起到示范性带动作用,为GP的募资带来更多活水。
此外,深圳此次《行动方案》,直指“募投管退”各环节具有实操性的重点问题,尤其是针对GP募资,除上文提到的母基金方面外:返投方面,提出了分类研究降低子基金返投认定和要求,对于种子和天使等初早期基金,探索取消返投时序进度、资金规模等要求,这亦是对全国范围内的引导基金起到示范性带动作用,也是对国办《关于促进政府投资基金高质量发展的指导意见》相关精神的落实;长期资金来源方面,提到了保险资金、企业年金、养老金等。并且,支持创投机构上市、发债。
《行动方案》中“进一步引导我市股份合作公司富余资金有序进入我市风投创投领域”也颇具“深圳特色”:我们关注到,深圳集体经济,率先在全国范围内做出布局股权投资的探索:2023年1月,深圳市罗湖区在全市率先成立了首支“市区国企+股份合作公司”股权投资基金,罗湖区的蔡屋围、黄贝岭靖轩、湖贝等11家该区股份合作公司盘活集体资金超1亿元;2023年7月,深圳市龙岗区16家股份合作公司和深圳市属国企深创投集团共同设立了一只私募股权投资基金,规模为5.05亿元,其中龙岗区16家股份合作公司出资4.05亿元。这为缓解创投行业的募资难带来了一条新路,也起到示范性带动作用。
2025年8月25日,两只由深圳集体经济发起的创投基金——坂田人工智能创投基金、龙岗龙兴创投基金正式签订投资意向协议。从现场了解到,这两支基金的总规模分别为1亿元和2亿元,存续期10年,现已完成意向资金募资,正在推进后续法定程序。两支基金的管理人均为深圳南岭村旗下的专业创投机构——南岭创投,南岭创投由南岭村股份合作公司于2017年设立,成为广东省首个村集体经济成立的私募股权、创投基金管理人。值得关注的是,这两只基金背后的LP除了深圳国资以外,还站着深圳市龙岗区12个村股份合作公司(以下简称“村企”),且这些村企是两只基金的主要出资人。
这都体现出深圳不仅是拿出支持鼓励创投发展的诚意,还切实了解当前创投行业发展中遇到的关键问题,并予以针对性的实打实的优化措施。
作为全国科技创新中心和金融中心,深圳是国内创投发源地之一,出台了全国首个地方性创投条例。据母基金研究中心发布的《2025上半年中国母基金全景报告》,深圳地区的母基金发展的尤为突出,母基金在管规模超广东省母基金在管规模的一半。在全国范围内,深圳的引导基金一直在探索市场化管理机制等方面走在各地区的前列,如放宽返投比例要求、提高出资比例、在管理办法中对境外申请机构的准入、对未按规定运行的子基金的清理、对签约规模小于过会规模且无后续融资进展的子基金出资规模的缩减等。
母基金研究中心认为,风投创投是实现技术、资本、人才等创新要素与创业企业有效结合的投融资方式,是推动科技创新转化的助推器和创新发展的加速器。而深圳市在推动风投创投发展方面已经积累了较多的经验:自2003年以来,深圳利用特区立法权在全国率先立法,出台《深圳经济特区创业投资条例》,并在2010年、2014年、2017年先后出台促进创业投资发展、合格境内投资者境外试点、外商投资股权投资企业试点等专项政策,设立财政专项资金扶持创投产业发展,相继成立了全国千亿级规模市政府投资引导基金、百亿级规模的天使母基金,以及国内第二家“出海”投资的人民币投贷基金等,营造了良好产业营商生态环境。
深圳的20+8产业基金体系正在完善,深圳已经成为全国对私募股权类基金最有吸引力的城市之一,随着深圳国资基金群的进一步壮大完善,我们也期待深圳更多母基金、产业基金和科技创新优质项目的涌现,在创投和助力产业升级领域做强做大。
